品牌:AMCELLS(商標停產),SUNCELLS,MKCELLS(商標替代)
材質:ZSFB-D不銹鋼材質
形狀:柱式ZSFB-D-20T稱重傳感器
除ZSFB-D-20T其它型號傳感器詳情請點擊:美國SUNCELLS稱重傳感器
美國SUNCELLS ZSFB-D-20T稱重傳感器特點應用:
柱式傳感器 Multi-column load cell
全不銹鋼結構 Total stainless steel construction
全焊接密封 All sealed by welding
安裝簡便、快速 Easy to install
高精度 High accuracy
高穩定性 High stability
【廣州蘭瑟電子】主要代理經銷傳感器類型:稱重傳感器、壓力傳感器、扭矩傳感器、荷元以及變送器、稱重模塊、放大器、接線盒、電子秤、儀表及相關配套附件等。我司與美國SUNCELLS公司合作多年,提供完善的售前、售中、售后服務,保證您買得放心,用得安心。
美國SUNCELLS ZSFB-D-20T稱重傳感器中文參數:
|
靈敏度輸出
|
Sensitivity Output
|
20000~50000內碼
|
|
精度等級
|
Accuracy class
|
C3
|
|
通訊波特率
|
Communication BPS
|
9600BPS
|
|
數字模塊分辨數
|
A/D Module Resolutin
|
60000碼
|
|
綜合誤差
|
Total error
|
±0.03% of rated output
|
|
零點平衡
|
Zero Balance
|
±1% of rated output
|
|
蠕變
|
Creep after 30 minutes
|
±0.03% of rated output
|
|
非線性
|
Nonlinearity
|
±0.02% of rated output
|
|
重復性
|
Repeatability
|
±0.02% of rated output
|
|
可用溫度范圍
|
Safe Temp. Range
|
-30C to + 70C
|
|
安全載荷
|
Safe Overload
|
150%
|
|
推薦激勵電壓
|
Rated Excitation
|
9~12V DC/AC
|
|
最大激勵電壓
|
Maximum Excitation
|
20V DC/AC
|
|
密封等級
|
Protection Class
|
IP68
|
|
導線長度
|
Cable Length
|
16m
|
|
最大輸入距離
|
Maximum Transmitting Distance
|
1200M
|
|
導線顏色
|
Cable Color Code
|
Red(+E) Black(-E) Green(+S) White(-S)
|
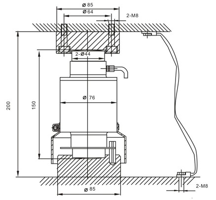
美國SUNCELLS ZSFB-D-20T稱重傳感器安裝尺寸:

美國SUNCELLS ZSFB-D稱重傳感器全部型號:
ZSFB-D-20t, ZSFB-D-25t, ZSFB-D-30t,ZSFB-D-40t, ZSFB-D-50t
電話:020-22157650 手機:15322063181
不同規格型號,價格也不同,我們會根據您要求的材質,形狀,精度,稱重,安裝方式等要求,為您提供最合適的傳感器,詳情可咨詢【廣州蘭瑟電子】專業工程師楊帆為您選型。
|